Trong hai tài liệu gửi lên Cơ quan quản lý Thương hiệu và cấp bằng sáng chế Mỹ, nhà sản xuất iPhone cho biết ý tưởng của họ sẽ đưa những qủa pin nặng nề hiệu năng thấp vào dĩ vãng.

Công nghệ này từ lâu đã được đánh gía cao là nguồn năng lượng tiềm năng ứng dụng vào xe hơi sử dụng nhiên liệu sạch. Các nhà sản xuất điện tử cũng cho thấy họ đang ngày càng quan tâm đến việc nên thay thế các pin nhiên liệu chứa các chất hóa học độc hại bằng pin nhiên liệu hydro cho thời lượng sử dụng lâu hơn mà chất thải chỉ là nước sạch.
Trong các tài liệu xin cấp bằng sáng chế, Apple phân tích "Tình trạng phụ thuộc ngày càng tăng của Mỹ vào nhiên liệu hóa thạch buộc chính phủ phải duy trì quan hệ chính trị và quân sự phức tạp với những chính phủ bất ổn định tại Trung Đông, đồng thời kéo theo những mối nguy hiểm đối với các tuyến bờ biển và công dân Mỹ trước các hoạt động khai thác ngoài khơi."
"Những vấn đề này đã dẫn đến yêu cầu phải nhận thức rõ và khuyến khích mọi người dân về việc sử dụng các nguồn năng lượng tái chế."

Theo Apple, pin nhiên liệu hydro sẽ có kích cỡ nhỏ hơn, nhẹ hơn các loại pin thông thường trong khi vẫn đáp ứng yêu cầu thời lượng sử dụng lâu hơn của các thiết bị di động mà không cần xạc lại trong nhiều ngày thậm chí là vài tuần đối với các thiết bị không thường xuyên sử dụng.
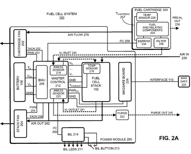
Hai bằng sáng chế "Hệ thống pin nhiên liệu cấp nguồn cho thiết bị điện toán di động" và "Hệ thống pin nhiên liệu ghép với thiết bị điện toán di động" không phải những dấu hiệu đầu tiên cho thấy Apple đang nỗ lực thay thế công nghệ pin hiện tại. Vào tháng 10 vừa qua, Apple gửi thêm hai đơn xin cấp bằng sáng chế phân tích chi tiết phương thức thu được nhiều năng lượng hơn từ các quả pin nhiên liệu có khối lượng và thể tích nhỏ hơn.
Công nghệ pin từ lâu đã bị coi là nút thắt cổ chai trong nền công nghiệp điện thoại thông minh. Chính điểm yếu này đã buộc các nhà sản xuất vi mạch hàng đầu thế giới phải tập trung vào phát triển các thế hệ chip xử lý tiêu thụ ít điện năng hơn.